Санкт-Петербург

Комплект подключения вспомогательного мотора, тросовый

Внешний вид товаров и упаковки может отличаться от изображенных на сайте
 
Товар
Наличие
Код
Цена
Кол-во
 
В наличии
Наличие в магазинах
Лахта 1 шт.
Стачек -     
10248121
65 429 руб.
- +
Заказать

Товар добавлен в корзину заказов

Вы можете перейти к оформлению заказа или продолжить покупки.

Перейти в корзину
Продолжить покупки

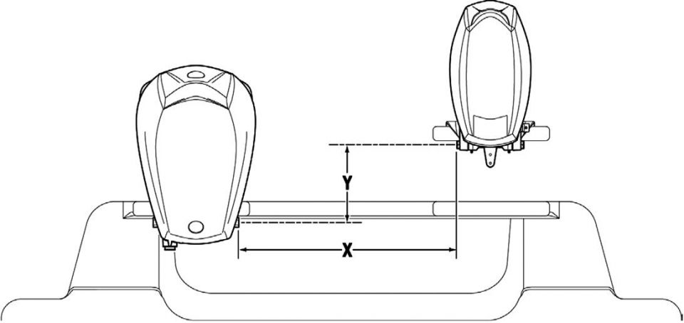
Новинка! Комплект, позволяющий подключить вспомогательный подвесной мотор малой мощности (до 20 л.с.) к гидроцилиндру «SeaStar», установленному на основном подвесном моторе. Связь двигателей осуществляется с помощью гибкого троса в боуденовской оболочке, изготовленного по технологии «TfXTream» (многожильный стальной сердечник в оребренной пластиковой оболочке), благодаря чему значительно упрощается монтаж двигателей, оба двигателя обретают возможность менять углы наклона и полностью откидываться полностью независимо друг от друга. В комплекте все необходимое для установки: новая полая ось гидроцилиндра, гибкий боуденовский трос, кронштейн для соединения с гидроцилиндром, крепеж, рулевая тяга (если ваш вспомогательный двигатель не укомплектован рулевой тягой, потребуется дополнительно приобрести вторую рулевую тягу). Комплект совместим со стандартными гидроцилиндрами фронтального монтажа. Для правильного подбора комплекта с необходимой длиной троса — см. таблицу.

Величина вертикального перемещения двигателя («А» на рисунке) Необходимо добавить к размеру «Х»
10 — 12 дюймов Х + 3 дюйма
13 дюймов Х + 4 дюйма
14 — 15 дюймов Х + 5 дюймов
16 — 20 дюймов Х + 6 дюймов

Примечания:

Если вспомогательный двигатель установлен на подвижном транце, замерьте величину перемещения двигателя по вертикали и увеличьте размер «Х» в соответствии с рекомендациями в таблице.

Примечание:

Если основной двигатель также установлен на регулируемом транце, добавьте дополнительно 2 дюйма к размеру «Х».

Производитель: «SeaStarSolutions» (ранее «Teleflex»), Канада.

НОВОСТИ

ГРАФИК РАБОТЫ В МАЙСКИЕ ПРАЗДНИКИ 2025года
25 апреля 2025г.

1,2,3,4,8,9,10,11 мая 2025 года МАГАЗИН РАБОТАЕТ с 10.00 до 18.00

Подписаться на новости

ОТЗЫВЫ

Сема
17 ноября 2022г.
Супер!...
Читать полностью...

Заказать обратный звонок

* - обязательно для заполнения

Ваше имя*

Телефон*